Tesla has made some missteps in its attempt to drastically automate vehicle production, but it has now launched new initiatives to get it right for its next-generation ‘Alien Dreadnought’ factory.
The automaker is now patenting a new type of cable that’s easier to manipulate by robots.
CEO Elon Musk said that one of their biggest mistakes with their attempt at highly automating the production of the Model 3. One example was trying to automate tasks that humans are much better at than robots, like manipulating cables.
In order to facilitate the automation of manipulating cables, Tesla has been reducing the length of wiring harnesses in its vehicles.
Musk said that Model S has about 3 kilometers of wiring harness and Tesla brought it down to 1.5 kilometers in length for the Model 3.
With future vehicle platforms, Tesla aims to bring it down to just 100 meters starting with the Model Y.
But now Tesla also plans to use different types of cables according to a new patent application filed by the company.
Tesla has filed a patent for what it describes as a “structural cable”. They explain the problem with current cables in the application:
“Traditional cables, such as component cables, USB cables, or HDMI cables are easy to manipulate with human hands for connecting with appropriate connectors that are disposed on different structures or devices. However, the installation of these cables is difficult to automate. The cables lack sufficient structural integrity and rigidity to be easily picked up, moved, and placed by a robotic arm. Further, because traditional cables are not rigid, they may not be easily formed into different shapes and routed to a pre-determined location amidst tight spatial constraints. Routing traditional, flexible cables during manufacturing, for example to connect different components during automobile manufacturing, typically cannot be automated and therefore require humans to place by hand. Such manual placement is time consuming, tedious, and costly. In addition, while certain traditional cables, like USB Type-C cables are designed to serve multiple purposes (such as power transmission, data, and video over a single cable), specific applications may not require the transfer of all three types of information.”
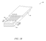
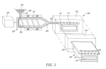
Tesla’s solution consists of having a “structural element” inside the cable with the goal being “manipulated into place by a robotic arm as part of an automated process while providing reliable data connections to its desired location.”
They describe the structural cable in the patent application:
“A structural cable that contains one or more wires formed with a structural element that provides rigidity to the structural cable in at least one direction. Typically, multiple wires or conductors (or multiple wire bundles or conductors, such as twisted wire/conductor pairs) will be formed in a collinear orientation or otherwise have the ends fanned out into a collinear orientation (that is the wires or conductors may exist in different orientations throughout the bulk, but the ends will be collinear).”
Here are some images from Tesla’s patent application:
You can access the full patent application here.
FTC: We use income earning auto affiliate links. More.

Comments